Загрузка задания
Загрузка задания...
Задание D5449B по Математика ЕГЭ База
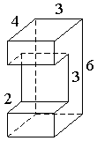
; Деталь имеет форму изображённого на рисунке многогранника (все двугранные углы прямые). Числана рисунке обозначают длины рёбер в сантиметрах. Найдите площадь поверхности этой детали. Ответ дайте в квадратных сантиметрах.; ; ; ;
|
|
Деталь имеет форму изображённого на рисунке многогранника (все двугранные углы прямые). Числа
на рисунке обозначают длины рёбер в сантиметрах. Найдите площадь поверхности этой детали. Ответ дайте в квадратных сантиметрах.
Подсказка
Впишите правильный ответ.
