Загрузка задания
Загрузка задания...
Задание D1659D по Математика ЕГЭ База
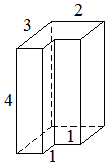
; Деталь имеет форму изображённого на рисунке многогранника (все двугранные углы прямые). Числана рисунке обозначают длины рёбер в сантиметрах. Найдите объём этой детали. Ответ дайте в кубических сантиметрах.; ; ;
|
|
Деталь имеет форму изображённого на рисунке многогранника (все двугранные углы прямые). Числа
на рисунке обозначают длины рёбер в сантиметрах. Найдите объём этой детали. Ответ дайте в кубических сантиметрах.
Подсказка
Впишите правильный ответ.
