Загрузка задания
Загрузка задания...
Задание 77C1DF по Математика ЕГЭ База
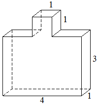
; Деталь имеет форму изображённого на рисунке многогранника (все двугранные углы прямые). Числа на рисунке обозначают длины рёберв сантиметрах. Найдите площадь поверхности этой детали. Ответ дайте в квадратных сантиметрах.; ; ; ; ;
|
|
Деталь имеет форму изображённого на рисунке многогранника (все двугранные углы прямые). Числа на рисунке обозначают длины рёбер
в сантиметрах. Найдите площадь поверхности этой детали. Ответ дайте в квадратных сантиметрах.
Подсказка
Впишите правильный ответ.
